28 iulie 2024
ОГЛЯД РЕЛЕ ЧАСУ РЕВ ВІД НОВАТЕК-ЕЛЕКТРО

Хочете вмикати освітлення на заданий час?

Організувати автоматичний полив грядок протягом дня?

У вас є будинок і потрібно включати насос на час, достатній для заповнення водою бака?

Для цих і багатьох інших побутових завдань, пов’язаних з включенням і вимиканням через заданий час чогось електричного, застосовуються реле часу.

Ну, а якщо Ви працюєте в промисловості, то і самі знаєте, як широко реле часу поширені в АСУ ТП.

Серед сучасних реле часу варті уваги моделі REV-201 і REV-201м компанії “Новатек-Електро”.

Це двоканальні електронні прилади, призначені для комутації електричних процесів змінного і постійного струму з можливістю регулювання невеликою затримкою.

 

Реле часу від Новатек-Електро

 

 реле часу таблиця

Реле часу в автоматизації

__________

Реле часу протягом багатьох десятиліть традиційно застосовуються в схемах автоматизації, навіть сучасні програмовані логічні контролери, увібравши в себе у вигляді програмних функцій в тому числі і реле часу, не змогли витіснити ці пристрої. Для простих завдань реле часу поза конкуренцією з-за простоти використання і невисокої вартості.

У промисловості реле часу традиційно застосовуються або в складі складних схем автоматизації, або окремо для управління простими об’єктами: насосом, приводом і т.д.

Модель REV201м, серед іншого, може працювати в якості реле передпускової сигналізації для обладнання, що підкоряється постановою Держгіртехнагляду № 47 від 04.06.03, в т. Ч.

І для ГЗК (гірничо-збагачувальних комбінатів).

У сільському господарстві реле часу використовують в системах крапельного зрошення, подачі корму і т.д.

В електротехнічних господарствах підприємств реле часу застосовують в схемах освітлення для їх включення на заданий час, у зв’язку з подорожчанням електроенергії, особливо актуально. 

Ну і, нарешті, для реле часу є величезне поле застосування в побуті, особливо в заміських будинках і дачах, тут і включення обігрівачів на заданий час, і  крапельне зрошення, управління зовнішнім освітленням і т.д.

 

Наприклад, ось так застосував реле часу один житель заміського будинку.

Будинок не має центрального водопостачання, але поруч з ним розташований колодязь, ходити в колодязь c відрами по воду неохота- 21 століття на дворі, господар будинку помістив в колодязь занурюваної насос, який при включенні через реле часу працює годину, що достатньо для заповнення місткого бака (час підібрано досвідченим шляхом), а потім вимикається.

Це робота реле часу за алгоритмом “затримка вимкнення”. Далі вода використовується в будинку для побутових потреб, а коли вона закінчується в баку, господар знову включає насос.

Звичайно, досвідчений Автоматор-виробник вирішив би цю задачу більш правильно з точки зору канонів АСУ ТП.

Наприклад, додатково б оснастив датчиками верхнього і нижнього рівня бак з водою, але реалізований проект чудовий саме своєю простотою, дешевизною і доступністю для звичайної людини.

А якщо навіть насос включати  не дочекавшись повного осушення бака, зайва вода просто витече через зливний отвір зверху.

Модернізація старих АСУ ТП

__________

Реле часу застосовуються в схемах автоматизації багато десятиліть, вони відомі, як мінімум з 1930-х років.

До сих пір на багатьох підприємствах трудяться реле часу випуску 1980-х, а то і 1970-х років, багато з них вже неабияк занепали і потребують заміни.

Замінити їх можна на сучасні реле часу моделей REV-201 або REV-201м. Тоді міняти схему автоматизації не доведеться, ці прилади, до того ж, мають ряд переваг.

Сучасні моделі, хоча функціонально і схожі попередників сімдесятих-дев’яностих років, конструктивно зовсім інші завдяки застосуванню мікроконтролерів і нової електронної бази.

Ось, як приклад, можна порівняти реле часу РВ 127 УХЛ4 1985 року випуску і сучасний прилад REV-201.

 

реле часу Новатек

Функціонально прилади схожі, обидва застосовуються для комутації електричних процесів з затримкою на включення, хіба що, у REV-201 діапазон регулювання більше: 0-220 с. проти 0-3,5 с. у РВ 127 УХЛ4. Так само REV-201 має два незалежних канали управління, проти одного у РВ 127 УХЛ4.

Але конструктивно прилади абсолютно різні.

У радянському пристрої для витримки часу застосовується годинниковий механізм, а в сучасному REV-201 цю функцію бере на себе мікроконтролер, відповідно, витримка у сучасного приладу часу точніше і надійніше.

Комутаційний ресурс вихідних контактів у REV-201 теж більше: 1000 000 під навантаженням 1 А (100 000 при 5А) проти всього лише 5000 у радянського.

Конструкція

__________

Реле часу REV-201 і REV-201м зібрані в корпусах для розміщення на DIN-рейку, спереду розташовані клеми підключення, індикатори та елементи управління.

 

реле часу від Новатек

  • Живлення ~ 230 В каналу 1

 

  • Живлення ~ 230 В каналу 2

 

  • Живлення ± 24 В каналу 1

 

  • Живлення ± 24 В каналу 2

 

  • Перемикач алгоритмів роботи

 

  • Індикатор напруги на каналі 1 та через спрацювання реле

 

  • Індикатор напруги на каналі 2 і спрацьовування реле

 

  • Індикатор напруги на каналі 1

 

  • Індикатор напруги на каналі 2

 

  • Уставка часу Т1 каналу 1

 

  • Уставка часу Т1 каналу 2

 

  • Уставка часу Т2 каналу 1

 

  • Уставка часу Т2 каналу 2

 

  • Перемикач тимчасового діапазону каналу 1

 

  • Перемикач тимчасового діапазону каналу 2

 

  • Індикатор спрацьовування реле каналу 1

 

  • Індикатор спрацьовування реле каналу 2

 

  • Клеми реле каналу 1 для підключення навантаження (схема підключення для REV-201м вказана збоку корпусу)

 

  • Клеми реле каналу 2 для підключення навантаження (схема підключення для REV-201м вказана збоку корпусу)

 

На REV-201 клеми підписані за функціональним призначенням, на REV-201м клеми просто пронумеровані, а схема підключення вказана збоку корпусу.

 

реле часу Новатек

З зворотньої сторони корпусу видно кріплення на DIN-рейку і приклеєна наклейка з деякими характеристиками пристрою.

 

реле часу Новатек

 Розберемо корпус REV-201, в середині бачимо 2 електронні плати: процесорну і управління.

 

реле часу Новатек

Тут застосовується мікропроцесор ATTINY26.


Тепер подивимося, що всередині у REV-201м, там теж 2 плати.

Ось плата управління.

 

реле часу Новатек

 

Тут застосовуються ті ж реле, що і в REV-201. Тому характеристики реле каналів в моделях REV-201 і REV-201м ідентичні.


А ось процесорна плата REV-201м.

 

реле часу Новатек

Тут застосовується мікропроцесор MEGA48.

Робота реле часу

__________

  1. Підключення живлення.

Головне Кожен з двох каналів управління REV-201 і REV-201м має окреме живлення.

REV-201 живиться від мережі ~ 230 В, клеми живлення каналів промаркеровані  “N” (нуль) і “L” (фаза).

REV-201м може живитися як від мережі ~ 230 В, так і від мережі ± 24 В. Але при цьому заборонено одночасне підключення каналів до різних мереж.

Клеми підключення живлення REV-201м пронумеровані, схема підключення вказана збоку корпусу.

При підключенні живленняі особливо важливо дотримувати правильну полярність, так як нуль у каналів загальний, простіше кажучи, на REV-201 між собою замкнуті клеми “N”, а на REV-201м між собою замкнуті клеми 8 і 12.

 

Реле часу Новатек

Тому якщо при подачі живлення на одному з каналів переплутати фазу і нуль, то в приладі відбудеться коротке замикання і він вийде з ладу.

Перед підключенням на проводах живлення слід обов’язково знайти фазу і нуль.

Наприклад, за допомогою звичайної викрутки-індикатора напруги.


2. Підключення навантаження.


Кожен з двох каналів управління REV-201 і REV-201м має реле для комутації електричних процесів навантаження.

Реле в обох моделях приладів однакові і розраховані на максимальний струм 7А при напрузі ~ 240 В, тому живлення навантаження підключати до реле необхідно через автоматичний вимикач (запобіжник) не більше 7 А.


На REV-201 схема комутації реле вказана над клемами.

На REV-201м клеми реле пронумеровані, схема підключення вказана збоку корпусу.


3. Алгоритми роботи.


REV-201м принципово відрізняється від REV-201 тим, що має 7 алгоритмів роботи і 8 діапазонів часу.

REV-201 працює за єдиним алгоритмом (включення із затримкою) і має один діапазон часу-від 0 до 220 секунд.


3.1 REV-201


Згідно з інструкцією, REV-201 працює за алгоритмом “Затримка на включення”.



Але кожен канал має 3 клеми, до складу яких входять дві пари контактів: нормально замкнуті і нормально розімкнені.


Тому REV-201 може працювати і за алгоритмом “Затримка на відключення”, якщо підключити навантаження до реле відповідним чином.

 

реле часу Новатек

При схемі з’єднання для алгоритму “Затримка на відключення”, в момент подачі живлення на канал включається навантаження і починається відлік часу, заданий регуляторами Т1 і Т2.

Після закінчення заданого часу навантаження відключається – розмикаються контакти 1-2 (канал 1) і 4-5 (канал 2).

 

3.2 REV-201м

 

REV-201м може працювати відповідно до одного з 7 алгоритмів, вибір алгоритму здійснюється відразу для двох каналів перемикачем А.

 

реле часу Новатек

REV-201м має 8 діапазонів часу, які дозволяють вводити тимчасові уставки тривалістю до 30 годин, вибір діапазонів часу здійснюється перемикачами D1 для першого і D2 для другого каналу.

 

реле часу Новатек

Розглянемо детально роботу кожного з алгоритмів.

__________

3.2.1 Алгоритм “Затримка на включення”

 

реле часу Новатек

 

 

3.2.2 Алгоритм “Імпульсний 1”

 

реле часу Новатек

 

 

 

3.2.3 Алгоритм “Періодичний 1”

 

реле часу Новатек

 

 

3.2.4 Алгоритм “Передпускова сигналізація”

 

реле часу Новатек

 

 

Цей алгоритм введений в REV-201м для реалізації вимог постанови Держгіртехнагляду № 47 від 04.06.03, пункт 69 якого говорить:

 

“Перед початком роботи або руху машини (механізму) машиніст зобов’язаний переконатися в безпеці членів бригади і знаходяться поблизу.

Повинен бути поданий звуковий попереджувальний сигнал тривалістю не менше 10 с, після першого сигналу повинна передбачатися витримка часу не менше 30 с, після чого повинен подаватися другий сигнал тривалістю 30 с.

Запуск механізмів і обладнання повинен бути зблокований з пристроєм, який забезпечує вищевказану предпусковую сигналізацію. “

 

3.2.5 Алгоритм “Імпульсний 2”

 

реле часу Новатек

 

 

3.2.6 Алгоритм “Періодичний 2”

 

реле часу Новатек

 

 

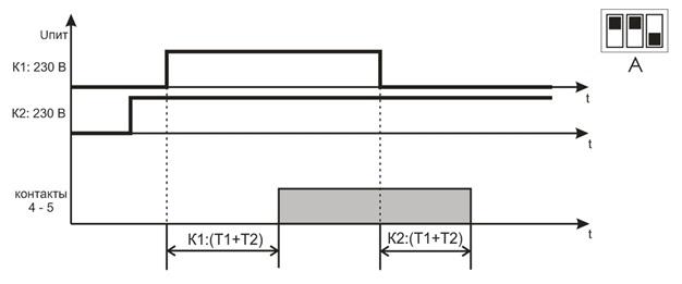
3.2.7 Алгоритм “Затримка на відключення”

 

реле часу Новатек

 

 

ОГЛЯД РЕЛЕ ЧАСУ РЕВ ВІД НОВАТЕК-ЕЛЕКТРО